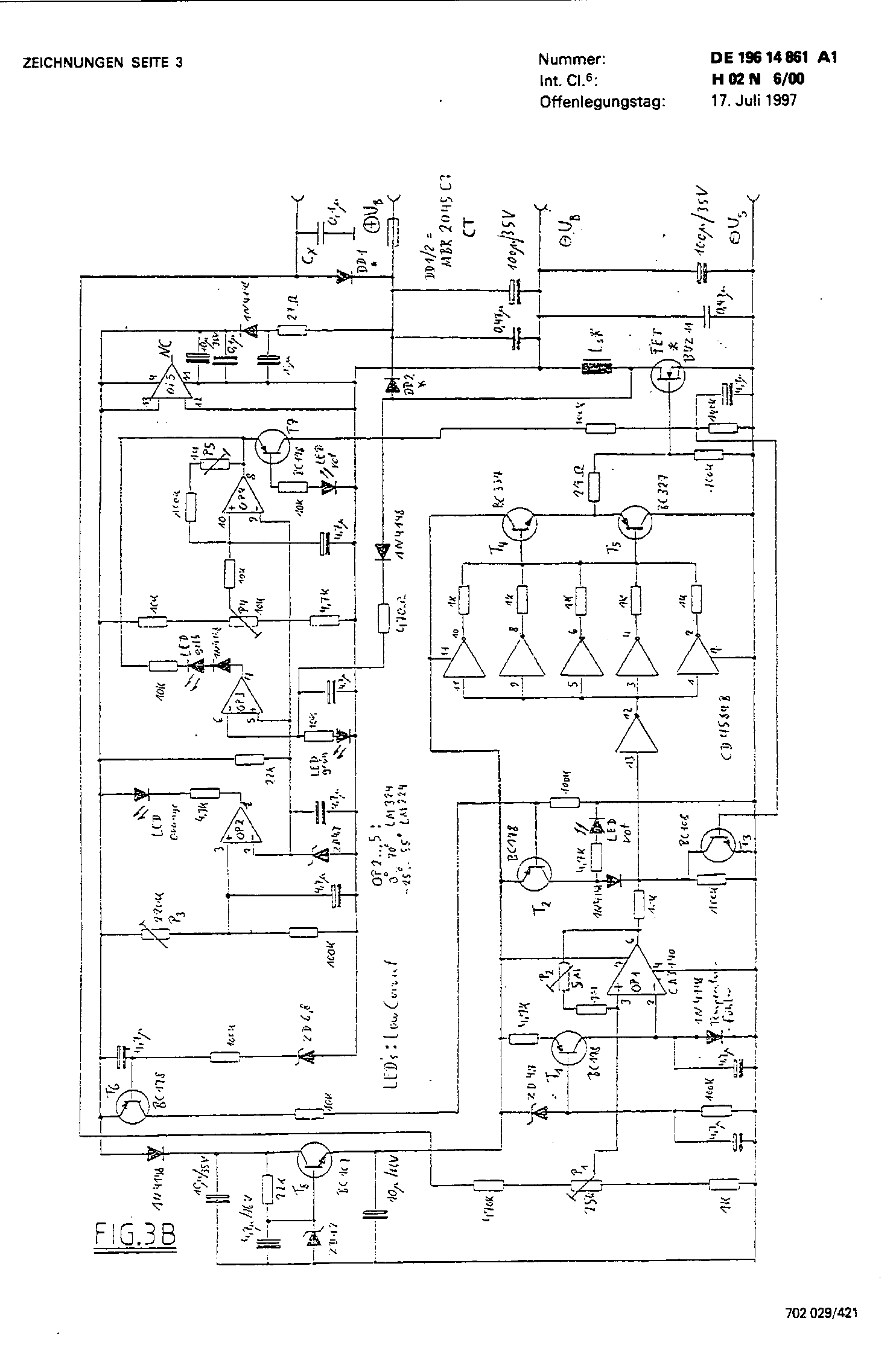
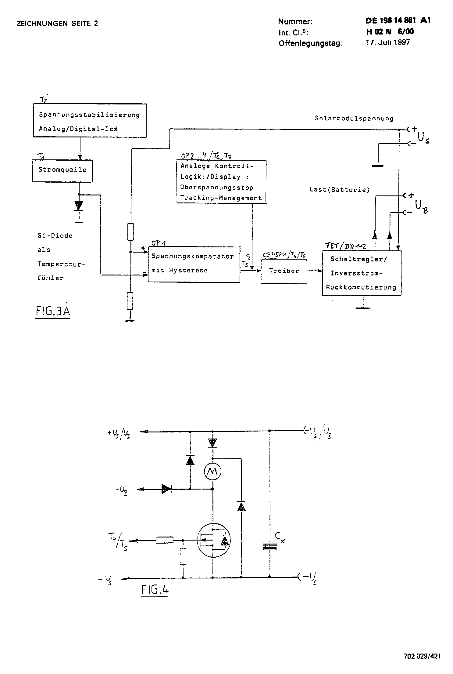
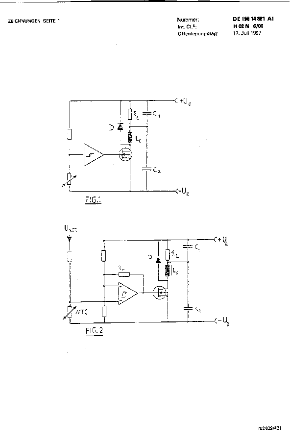
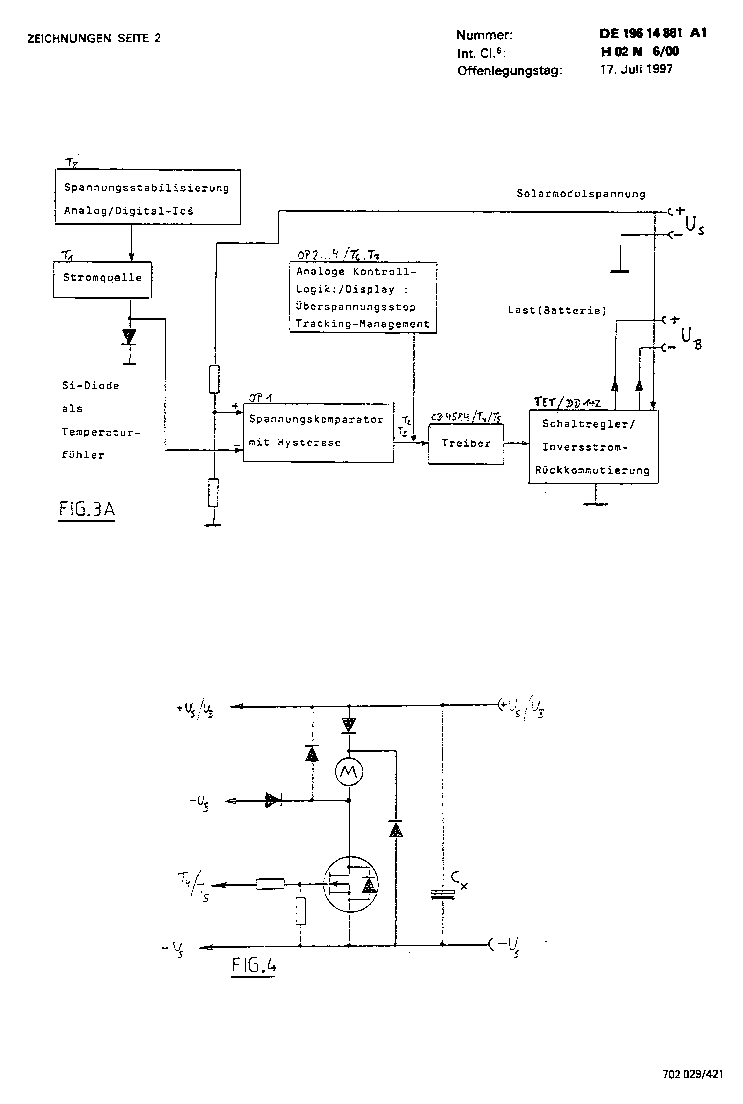
12V STEP-DOWN MPT ermöglicht bis über 100% mehr Nutzleistung aus Solarmodulen.

 

Dazu im folgenden die original Patentschrift als Scan sowie eine Nachbauanleitung für private Zwecke für eine noch einfachere und noch leistungsfähigere Schaltung. Kaum zu glauben aber wahr: Insbesondere bei E-Antrieben kann die Schaltung je nach Betriebszustand weit mehr als doppelten Laststrom als solaren Eingangsstrom liefern. Wer's nicht glaubt, bitte nachbauen und ausprobieren!
Anwendungserfahrungen bitte per E-Mail mitteilen! Danke!

 

kl-image4.gif


kl-image5.giflinie1.gifkl-image6.gif
 



linie1.gif